In casa Sram sembra proprio che non abbiano in simpatia il deragliatore… Nel 2008 provarono a eliminarlo con la guarnitura da enduro Truvativ Hammerschmidt, negli ultimi anni hanno spinto forte sul monocorona e ora dal web spunta un nuovo brevetto Sram che pare permetta di mantenere la doppia corona, ma senza l’uso del deragliatore.
Foto Lidl-Trek – @twilcha
Attenzione, il fatto che un’idea o un componente siano protetti da brevetto non significa che quel componente arriverà sul mercato in tempi brevi. Anzi, a volte non arriverà mai. Sram, Shimano e molte altre aziende brevettano di continuo nuove idee, spesso solo per complicare la vita dei competitor.
Il brevetto in oggetto, ad esempio, risale al 2020 e non ha ancora visto la luce, ma pare che sia stato aggiornato nel 2025 e comunque sia ancora attivo, dunque vale almeno la pena capire di cosa parla.
Se volete approfondire, qui trovate il PDF con il testo originale del brevetto.
Nuovo brevetto Sram: come funziona (o dovrebbe funzionare)
Il sistema di cambiata descritto dal brevetto Sram in termini di concetto è simile alla vecchia guarnitura Truvativ Hammerschmidt, vale a dire riuscire a mantenere l’ampia scelta di rapporti della doppia corona, ma senza deragliatore.
Il sistema di attuazione, però, è completamente differente.
La Hammerschmidt (foto in basso) aveva una sola corona esterna e una sorta di demoltiplicatore interno, attivabile tramite una frizione. Grossolanamente lo possiamo considerare un precursore del sistema che Classified ha poi introdotto con successo nel mozzo posteriore.

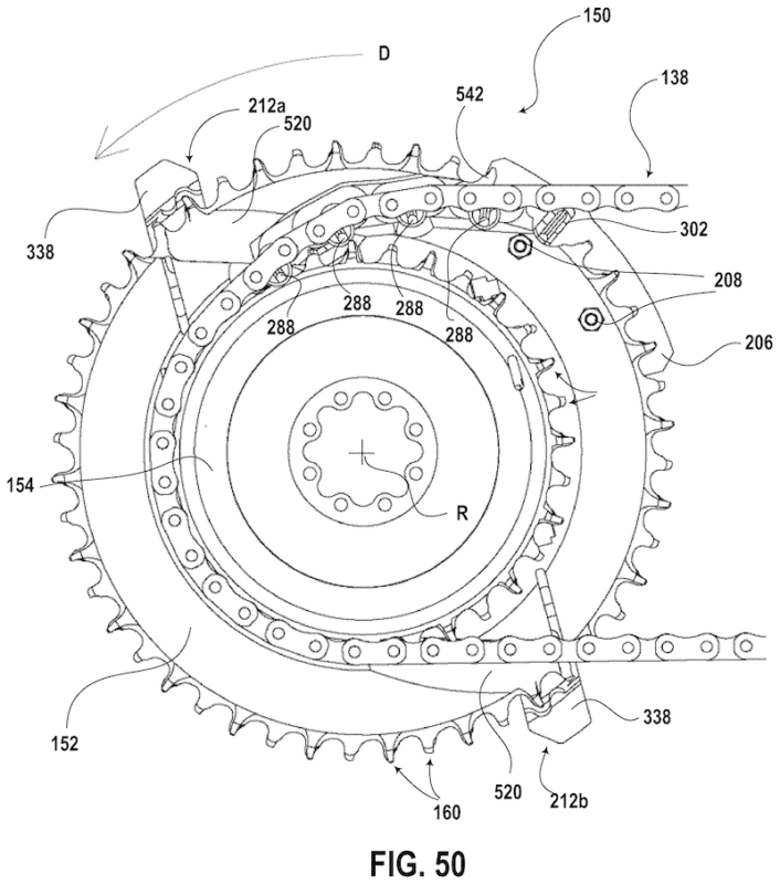
Il sistema di cambiata illustrato dal nuovo brevetto Sram è completamente diverso. Vediamolo in breve per punti chiave:
– Il sistema è wireless, alimentato a batteria e verosimilmente sarebbe integrato nell’ecosistema AXS.
– Il sistema è costituito da due corone che integrano i meccanismi di cambiata (non proprio intuitivi da comprendere) al posto del deragliatore.
– La cambiata dalla corona grande a quella piccola avviene attraverso due palette (chiamate downshift element nel brevetto, evidenziate nell’immagine in basso) che dovrebbero muoversi verso l’interno e guidare la catena in discesa. In soldoni, sembrerebbero funzionare come due piccoli deragliatori integrati già sulla corona grande.


– La cambiata dalla corona piccola alla grande, invece, sembra avvenire attraverso una serie di denti guida, che al momento opportuno sollevano la catena e la portano sulla corona esterna (vedi immagine in basso).



Perché?
In molti pensano che il fascino della bici sia dovuto alla sua semplicità e, forse, non hanno del tutto torto. È anche vero che la tecnologia va avanti e che alcune innovazioni hanno contribuito a migliorare in modo significativo la nostra esperienza su due ruote.
Il sistema di cambiata illustrato nel nuovo brevetto Sram, sulla carta, non sembra così intuitivo, ma è troppo difficile giudicare senza vedere (l’eventuale) prodotto finito.

La cosa su cui possiamo riflettere è perché Sram abbia pensato ad un progetto del genere.
L’ipotesi più ovvia è quella di togliere definitivamente il deragliatore, non solo su mtb e gravel, ma anche sulle bici da corsa, dove la maggior parte degli utenti non è disposto a rinunciare alla doppia corona.
Foto Lidl-Trek/Zac Williams
Proviamo a immaginare i vantaggi:
- • Migliore aerodinamica, senza perdere il range di rapporti offerto dalla doppia
- • Cambiata più precisa e minore necessità di regolazioni, poiché il sistema è integrato nelle corone
- • Vantaggi di peso? Difficile dirlo, ma i grammi risparmiati eliminando il deragliatore con tutta probabilità sono compensati dal meccanismo di cambiata che si trova sulle corone
- • Nuove frontiere nella progettazione dei telai. A nostro avviso questo è il punto più suggestivo: non avere più bisogno del deragliatore potrebbe permettere agli ingegneri di uscire dagli schemi, provare nuove laminazioni in quella zona del telaio (riducendo i pesi) o sperimentare nuove forme, un po’ come è successo per ruote e telai dopo l’avvento del freno a disco.
Ha senso tutto ciò? Difficile giudicare da un brevetto, ma è innegabile che la maggior parte delle innovazioni introdotte da Sram negli ultimi anni sono state game changer…