Nytt Sony patent visar AI-hjälp i spel. AI kan visa lösningar eller ta över när du kört fast. | Feber / Spel
Teknik
Motor
Samhälle
Spel
Popkultur
Tester
Tjock
Skaffa Feber+

Laddar…
Annons från

Laddar…
Annons från
Nytt Sony patent visar AI-hjälp i spel
AI kan visa lösningar eller ta över när du kört fast

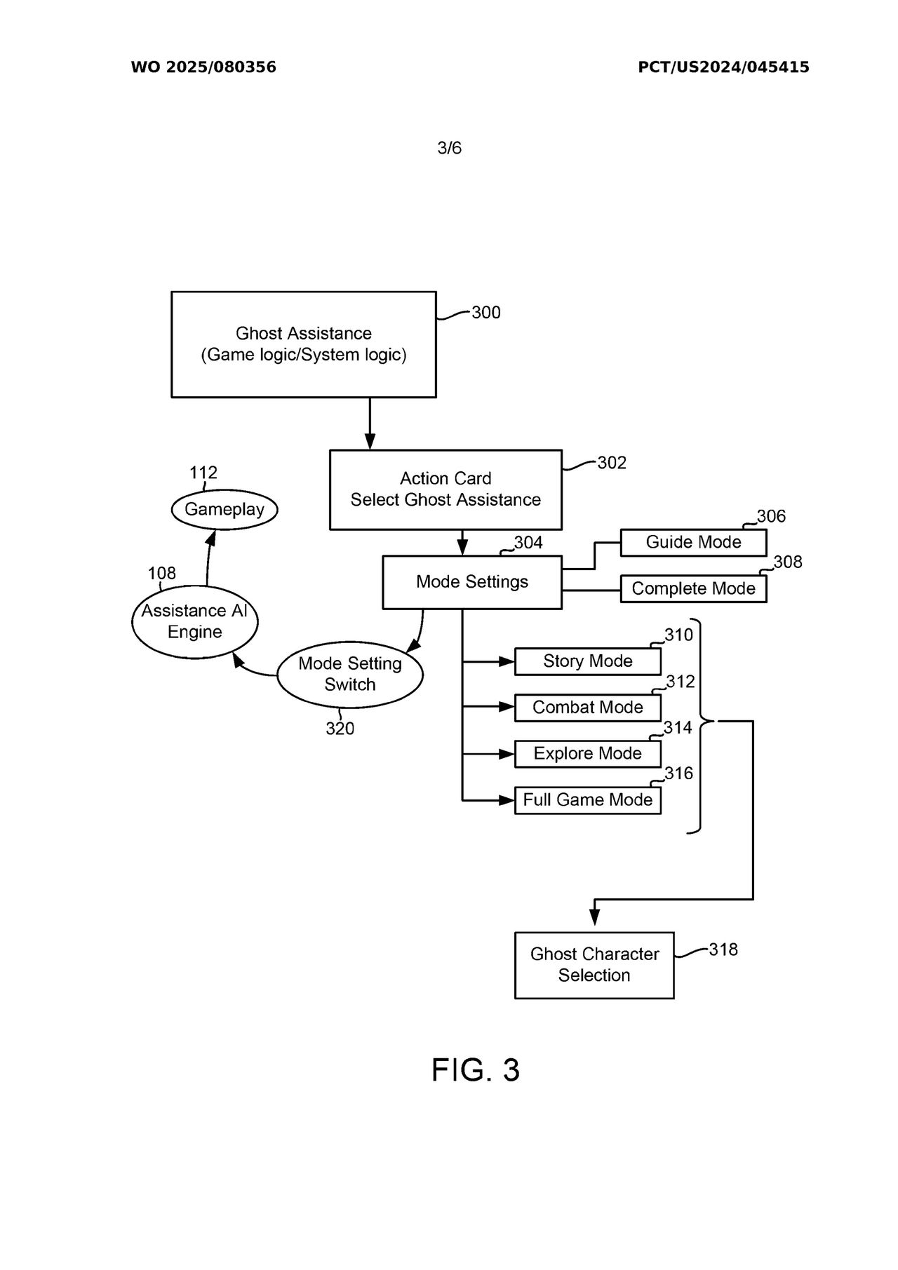
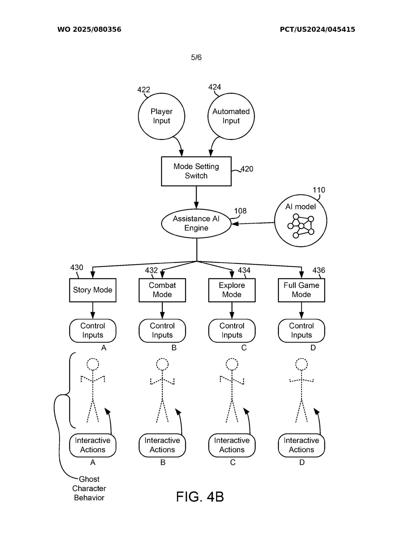
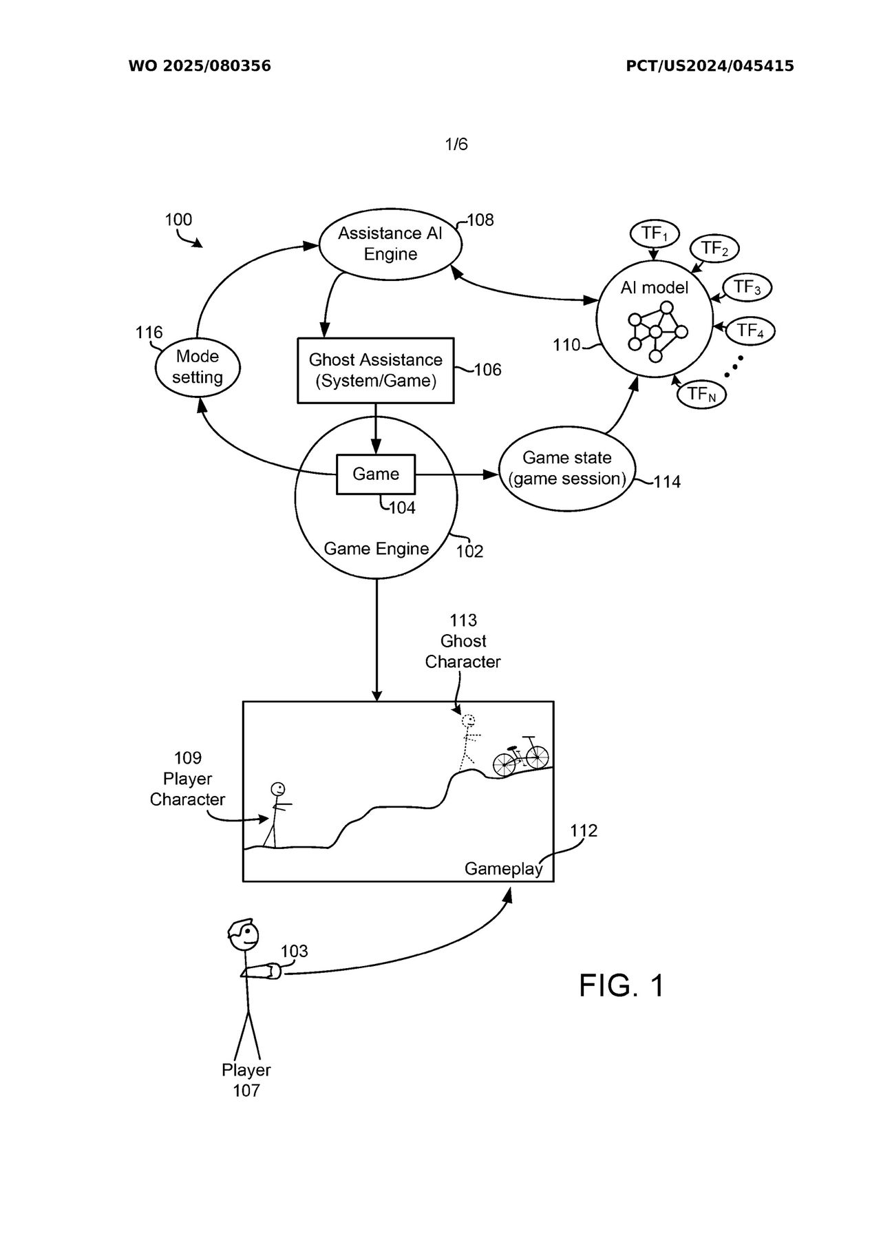
Sony har tagit patent på en AI-baserad spökspelare som kan hjälpa till om man har fastnat i något spel. Patentet beskriver en överlagrad version av spelarens karaktär som kan visa handlingar, ge exempel på knappsekvenser, eller ibland ta över och klara en del av spelet åt spelaren. Spökspelaren kan också föra samtal med spelarens karaktär för att ge instruktioner.Enligt patentet kan då AI:n tränas på befintligt spelmaterial för att senare kunna visa lösningar som är relevanta för spelarens aktuella situation.
videogameschronicle.com
Spel,
Sony,
AI,
Spel,







Laddar…
Annons från

Laddar…
Annons från
34.0°

Frode Wikesjö
idag kl 16:20
+
Per månad
39 kr
Betala löpande per månad. Ingen bindningstid.
Per år
299 kr
Enklast och billigast, bara 25 kronor i månaden. Betala löpande per år. Ingen bindningstid.
Prova 14 dagar gratis innan du bestämmer dig.
Engångsköp
349 kr
Slipp återkommande betalningar, betala ett år i taget. Betala med kort eller Swish.
